Тройник сварной

Полное описание читайте ниже
Описание товара

Описание товара

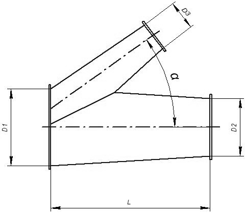
Тройник круглого сечения может быть изготовлен с прямоугольной врезкой или с круглой врезкой. Врезка в тройнике устанавливается под углом 90 градусов, либо под углом необходимым заказчику, после согласования со специалистами компании. Так же возможно изготовление штанообразного и аспирационного тройника.
Материал и толщина материала:
  • сталь холоднокатаная от 1,0 до 1,4 мм
Тип соединения:
  • на фланцах из сварного уголка
  • без фланцев
Материал для фланцев:
  • сварной уголок 25х25х3 ГОСТ 8509
  • сварной уголок 32х32х3 ГОСТ 8509
  • сварной уголок 35х35х4 ГОСТ 8509
Покрытие от коррозии:
  • антикоррозийное покрытие грунт ГФ-021 по ГОСТ 25129-89